黄晓明最近因为在《中餐厅》节目中表现过于强势,成为广大网友吐槽的对象,很多人说他“太大男子主义”,动不动就一副“霸道总裁范”,其实人家真的是总裁,手头上还有几十家公司呢。

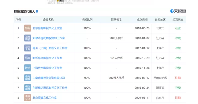
当前和黄晓明直接或间接控制的企业多达65家,其中担任法定代表人8家。

其中北京泰耀文化工作室是黄晓明在2009年以10万元注册资本成立的个人工作室,先后投资拍摄了《中国合伙人》《一场风花雪月的事》《撒娇女人最好命》《何以笙箫默》等多部影视作品。
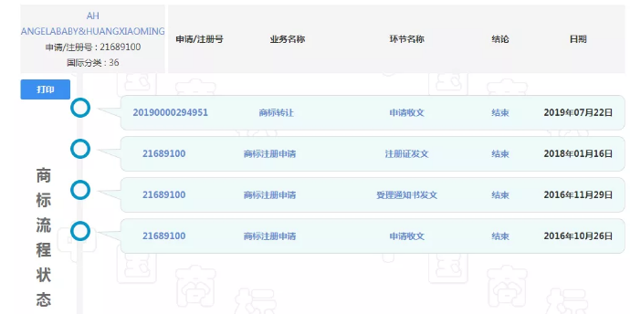
该公司名下有159件商标,大多与黄晓明夫妇有关,如“ANGELABABY&HUANG XIAOMING”、“AH”。

不过这家公司已经被注销。那么问题就来了,这些商标该怎么办呢??
敲 黑 板,划 重 点 !
一般情况下,公司注销是不会影响到商标的,商标依然有效。
公司注销后,商标可以在一年之内转让,也可以提交注销,如果公司在注销时未将商标转让,对于已经决定归属的,则企业可以通过移转将商标转移出来。
自企业被撤销之日起1年期满,其注册商标没有办理移转手续的,任何人可以向商标局申请注销该注册商标。
目前,北京泰耀文化工作室名下的这些商标,已经提交了转让申请,不会被注销的,大家放心吧!

商标作为无形资产,它是有市场价值的,一些知名商标的价值超乎你的想象,所以不要轻易放弃商标。在公司还没注销之前,建议提前做好商标转让,可以转给个人或者其他公司。
01商标转让需要什么材料:
(1)《商标转让申请书》,并要在商标转让申请书上双方签字并盖章。
(2)《商标转让协议》。
(3)商标转让的双方企业法人身份证及营业执照复印件
(4)企业办理商标转让对应的注册商标证书
(5)商标注册公证书
(6)《商标专利委托书》,及代理人的身份证原件、复印件
(7)申请文件为外文的,还应提供经翻译机构签章确认的中文译本
02 商标转让的流程:
(1)企业商标转让双方签订《商标转让合同/协议》。
(2)商标持有人办理商标公证,一般在3-5个工作日完成,获取《商标申明公证书》。
(3)将所有准备的商标转让材料报送商标局,缴纳转让规费。
(4)等待商标局发放受理书,一般1-2个月左右下发受理书,并开始进行审查。
(5)商标局受理后5-8个月左右刊登公告并向双方下发《核准转让注册商标证明》。
关于公司注销,注册商标如何处理的问题,你知道该怎么解决了吧!更多商标干货知识,欢迎关注一品知识产权!
便捷链接:投资过亿,实控65家企业,
本文来源:网络?买卖商标注册授权入驻“天猫”“京东”“拼多多”“抖音头条”“商标百科”
版权说明:上述为转载或编者观点,不代表亿佰倍懂商标意见,不承当任何法律责任
亿佰倍懂商标官方微信
欢迎关注亿佰倍懂
微信号:K58158 热门TAGS
购买上海商标 商标复审 商标撤三答辩 商标驳回复审 国际商标驳回 知名商标转让 白酒商标网 19类商标转让 18类商标转让 17类商标转让 16类商标转让 15类商标转让 14类商标转让 13类商标转让 11类商标转让 12类商标转让 10类商标转让 9类商标转让 8类商标转让 7类商标转让 6类商标转让 5类商标转让 4类商标转让 3类商标转让 2类商标转让 1类商标转让 T恤商标转让 红酒商标转让 黄酒商标转让 水饺商标转让 糖果商标转让 闲置商标转让 商标购买网站 月饼商标转让 购买月饼商标 购买牛奶商标 牛奶商标转让 购买餐饮商标 餐饮商标转让 啤酒商标转让 购买啤酒商标 购买酒类品牌 酒类品牌转让 购买饮料商标 饮料商标转让 食品商标转让 购买食品商标 购买镀膜商标 镀膜商标转让 机油商标转让 购买机油商标 头枕商标转让 购买头枕商标 车衣商标转让 购买车衣商标 购买车贴商标 车贴商标转让 凉垫商标转让 睡袋商标转让 包子商标转让
联系方式
【商标网】
企业QQ:1728988888
手机: 18211558558
官方微信:K58158
广东(总部)北京(分部)深圳(分部)

*截止
,共有人阅读了本文。


40
加工服务