全部服务分类
  • 商标注册1专区

  • 申请商标专区

  • 商标套餐专区

  • 白酒商标转让专区

  • 商标转让专区

  • 版权登记专区

  • 城市商标注册专区

  • 中国商标转让专区

more

就是因为没有注册全类商标,阿里痛失“天猫”

*截止 ,共有人阅读了本文。

推荐阅读:就是因为没有注册全类商


  淘宝商城更名为“天猫”7年的时间里,6年都在为“天猫”商标的事儿烦心着……

  小编说一句:“天猫是阿里的,没人反对吧?”但这个约定俗成的原则,在商标领域就得较真了。

  如今,淘宝商城更名为“天猫”都6年了,阿里还在为“天猫”商标的事儿烦心着……

就是因为没有注册全类商标,阿里痛失“天猫”商标6年多

  近日,一家名不见经传的小公司,同时“叫板”商标评审委员和阿里巴巴集团控股有限公司,把他们统统告上了法庭。好想问,是谁给了它勇气?梁静茹吗?

就是因为没有注册全类商标,阿里痛失“天猫”商标6年多

  小编帮大家简单梳理了一下这场不断升级的“较量”时间线。

  2017年6月9日,阿里巴巴公司对第10414910号“天猫”提出无效宣告请求。

  2018年03月29日,商评委做出对争议商标予以无效宣告的决定。

  2018年7月底,北京知产法院受理了这起争议商标无效宣告请求行政纠纷案。目前,此案正在进一步审理中。

  据了解,这家“有勇气”的小公司来自浙江,公司名称是永康市淘大工贸有限公司。

就是因为没有注册全类商标,阿里痛失“天猫”商标6年多

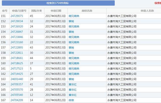
  它成立于2009年11月27日,实缴资本仅10万元人民币。然而不查不知道!这家小公司手里竟然攥着多达1754件“大嘴熊”、“黄非红”“天猫”等商标!

  它在不同类别申请注册了近千枚商标,且数十个商标因与其他主体的商标构成近似商标或违反绝对性条款而被商标局予以驳回或者部分驳回,这明显超出了企业申请注册商标正常的使用意图。

  商评委裁定第10414910号“天猫”商标无效宣告依据正来源于此。

  商评委经审理后,认为淘大公司这种大规模申请注册与他人知名商标相近商标的行为有违诚实信用原则,也扰乱了正常的商标注册、使用和管理秩序,属于《商标法》第四十四条第一款规定所指“以不正当手段取得注册”情形。

  另外,小编还发现一件非常有意思的事儿:淘大公司申注“天猫”商标日期与淘宝商城宣布更名为“天猫”的时间完全一致, 正是2012年1月11日这一天。

就是因为没有注册全类商标,阿里痛失“天猫”商标6年多

  淘大公司在2012年1月11日分别在第11类照明器械、第20家具第21烹饪锅、厨房用具等商品上申请注册“天猫”商标。 目前,这3件商标均已经是核准注册商标。

就是因为没有注册全类商标,阿里痛失“天猫”商标6年多

  本案涉及的第10414910号“天猫”商标,2017年3月21日获准注册,其核定使用范围为第20类家具等商品上。

  淘大公司起诉至北京知产法院一个重要的起诉理由就是阿里证明不了“天猫”系列商标在2012年1月11日之前就具有知名度!

就是因为没有注册全类商标,阿里痛失“天猫”商标6年多

  我们可以查询到阿里早在2011年10月31日,也就是淘宝商城还没改名前2个月,已经分别在第9类笔记本电脑、计算机程序;第16类绘画材料、家具除外的办公必需品;第35类广告;第41类(在计算机网络上)提供在线游戏;42类计算机软件设计等商品或服务上申注“天猫”、“天猫商城”等商标。

  但这些引证商标与本案10414910号“天猫”商标核定使用在20类家具等商品上,无论在功能用途、销售场所、服务对象等方面差别较大,不易导致消费者的产源误认,也就不存在近似商标的可能。

  如今,阿里想赢只能拿出在改名前,“天猫”就火了的证据,但是这又谈何容易呢?

就是因为没有注册全类商标,阿里痛失“天猫”商标6年多

  怪只要怪阿里当初没有选择一口气45类全类别注册“天猫”商标。

  全类注册作为一种防御性商标注册策略,尤其适用于名声在外的上市公司。它既能使商标在较大的范围内受到法律保护,同时也使企业拥有较为丰富的商标资源,有利于企业实施品牌化战略,进行多元化、跨行业的发展。

  这场诉讼拉锯战,就是阿里为自己的大意付出的本不必要的代价。


上一篇:演员起诉起诉视觉中国获胜,网友对此鼓掌叫好
下一篇:我不要你觉得,我要我觉得,关于商标就这样做


亿佰倍懂商标官方微信

欢迎关注亿佰倍懂

亿佰倍懂 微信号:K58158

热门TAGS


购买上海商标 商标复审 商标撤三答辩 商标驳回复审 国际商标驳回 知名商标转让 白酒商标网 19类商标转让 18类商标转让 17类商标转让 16类商标转让 15类商标转让 14类商标转让 13类商标转让 11类商标转让 12类商标转让 10类商标转让 9类商标转让 8类商标转让 7类商标转让 6类商标转让 5类商标转让 4类商标转让 3类商标转让 2类商标转让 1类商标转让 T恤商标转让 红酒商标转让 黄酒商标转让 水饺商标转让 糖果商标转让 闲置商标转让 商标购买网站 月饼商标转让 购买月饼商标 购买牛奶商标 牛奶商标转让 购买餐饮商标 餐饮商标转让 啤酒商标转让 购买啤酒商标 购买酒类品牌 酒类品牌转让 购买饮料商标 饮料商标转让 食品商标转让 购买食品商标 购买镀膜商标 镀膜商标转让 机油商标转让 购买机油商标 头枕商标转让 购买头枕商标 车衣商标转让 购买车衣商标 购买车贴商标 车贴商标转让 凉垫商标转让 睡袋商标转让 包子商标转让

联系方式

【商标网】
企业QQ:1728988888
手机: 18211558558
官方微信:K58158
广东(总部)北京(分部)深圳(分部)