全部服务分类
  • 商标注册1专区

  • 申请商标专区

  • 商标套餐专区

  • 白酒商标转让专区

  • 商标转让专区

  • 版权登记专区

  • 城市商标注册专区

  • 中国商标转让专区

more

二十四节气名称可以为注册商标吗?

*截止 ,共有人阅读了本文。

推荐阅读:二十四节气名称可以为注


  12月7日是二十四节气中的大雪,在国际气象界,二十四节气也被誉为“中国的第五大发明”,2016年11月30日,二十四节气被正式列入联合国教科文组织人类非物质文化遗产代表作名录。那么,二十四节气名称可以为吗?

二十四节气名称可以为注册商标吗?

  12月7日18点18分

  大雪节气到来

  大者,盛也

  至此而雪盛也

  仲冬时节正式开始

二十四节气名称可以为注册商标吗?

  二十四节气,于中国先秦时期就已经订立、到汉代完全确立的用来指导农事的补充历法,是通过观察太阳周年运动,认知一年中时令、气候、物候等方面变化规律所形成的知识体系。在国际气象界,它被誉为“中国的第五大发明”。

  2016年11月30日,二十四节气被正式列入联合国教科文组织人类非物质文化遗产代表作名录。

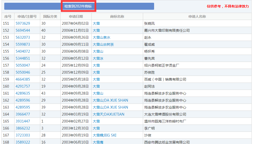
  商标网查询得知,含有“大雪”字样的商标申请共有202件,“大雪”商标申请有35件,注册类别最多的是第32类啤酒饮料。

二十四节气名称可以为注册商标吗?

  1994年1月22日,百威(中国)销售有限公司申请了最早的一件“大雪”商标,目前核准使用在第32类啤酒。

二十四节气名称可以为注册商标吗?

  二十四节气可以被申请为商标么?

  根据《商标法》第十条第八版,下列标志不得作为商标使用:有害于社会主义道德风尚或者有其他不良影响的。

  社会主义道德风尚,是指我国人们共同生活及其行为的准则、规范以及在一定时期内社会上流行的良好风气和习惯。

  其他不良影响,是指商标的文字、图形或者其他构成要素对我国政治、经济、文化、宗教、民族等社会公共利益和公共秩序产生消极的、负面的影响。有害于社会主义道德风尚或者具有其他不良影响的判定应考虑社会背景、政治背景、历史背景、文化传统、民族风俗、宗教政策等因素,并应考虑商标的构成及其指定使用的商品和服务。

  但是并没有具体规定不能将二十四节气名称申请为注册商标,根据以往注册成功的例子,或许二十四节气名称是可以成为注册商标呢?

  细数被申请为商标的二十四节气

  不只是“大雪”被申请为商标,其他节气也都被申请了,最早是在上个世纪就开始有人申请注册节气商标。

  以下为二十四节气部分申请商标。

  立春

二十四节气名称可以为注册商标吗?

  雨水

二十四节气名称可以为注册商标吗?

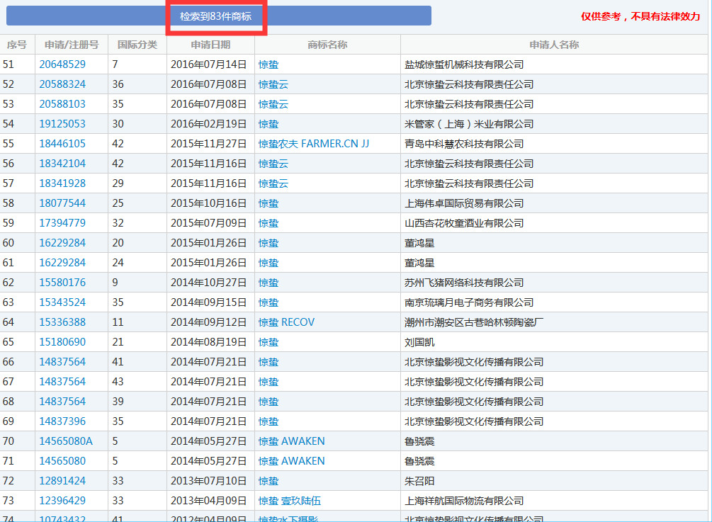
  惊蛰

二十四节气名称可以为注册商标吗?

  春分

二十四节气名称可以为注册商标吗?

  清明

二十四节气名称可以为注册商标吗?

  谷雨

二十四节气名称可以为注册商标吗?

  立夏

二十四节气名称可以为注册商标吗?

  小满

二十四节气名称可以为注册商标吗?

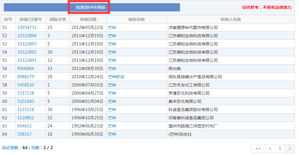
  芒种

二十四节气名称可以为注册商标吗?

  夏至

二十四节气名称可以为注册商标吗?

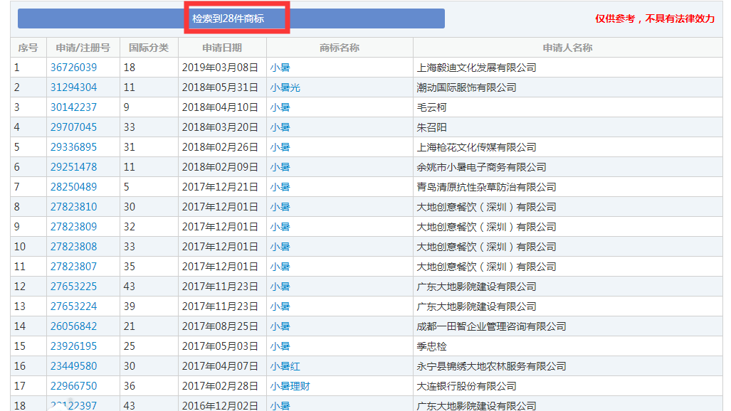
  小暑

二十四节气名称可以为注册商标吗?

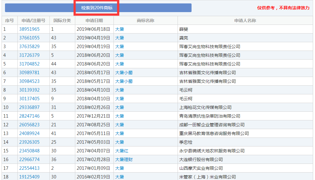
  大暑

二十四节气名称可以为注册商标吗?

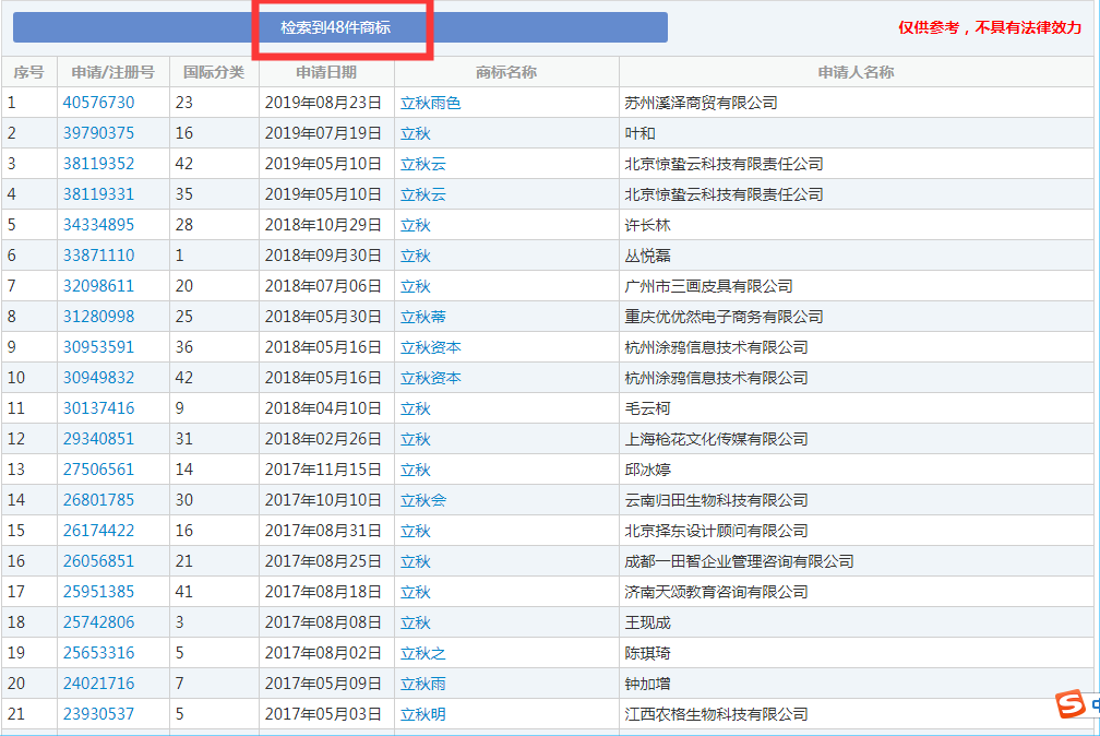
  立秋

二十四节气名称可以为注册商标吗?

  处暑

二十四节气名称可以为注册商标吗?

  白露

二十四节气名称可以为注册商标吗?

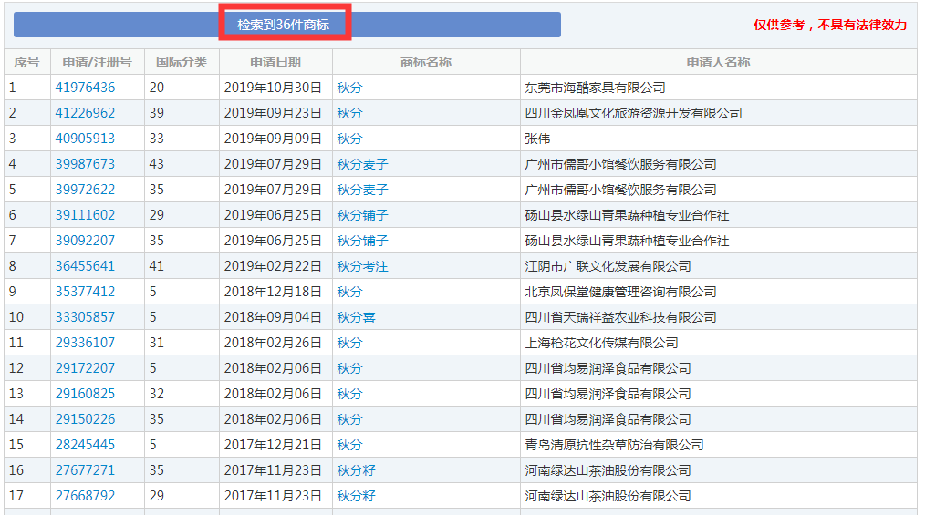
  秋分

二十四节气名称可以为注册商标吗?

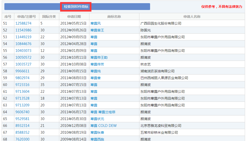
  寒露

二十四节气名称可以为注册商标吗?

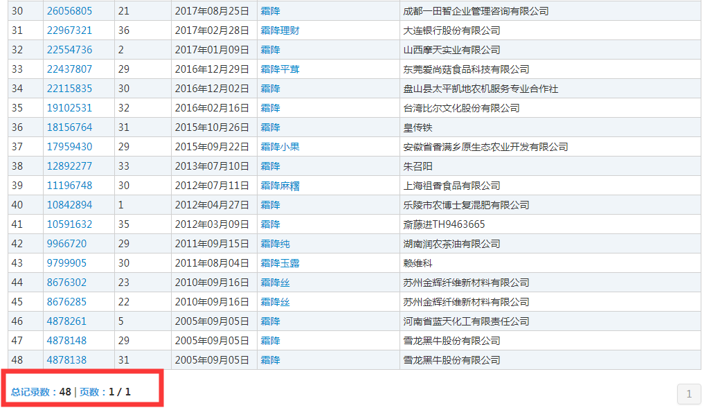
  霜降

二十四节气名称可以为注册商标吗?

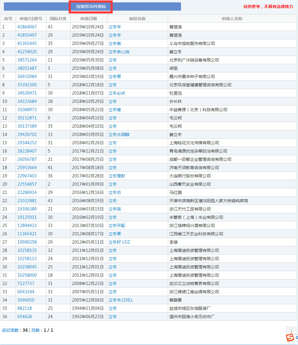
  立冬

二十四节气名称可以为注册商标吗?

  小雪

二十四节气名称可以为注册商标吗?

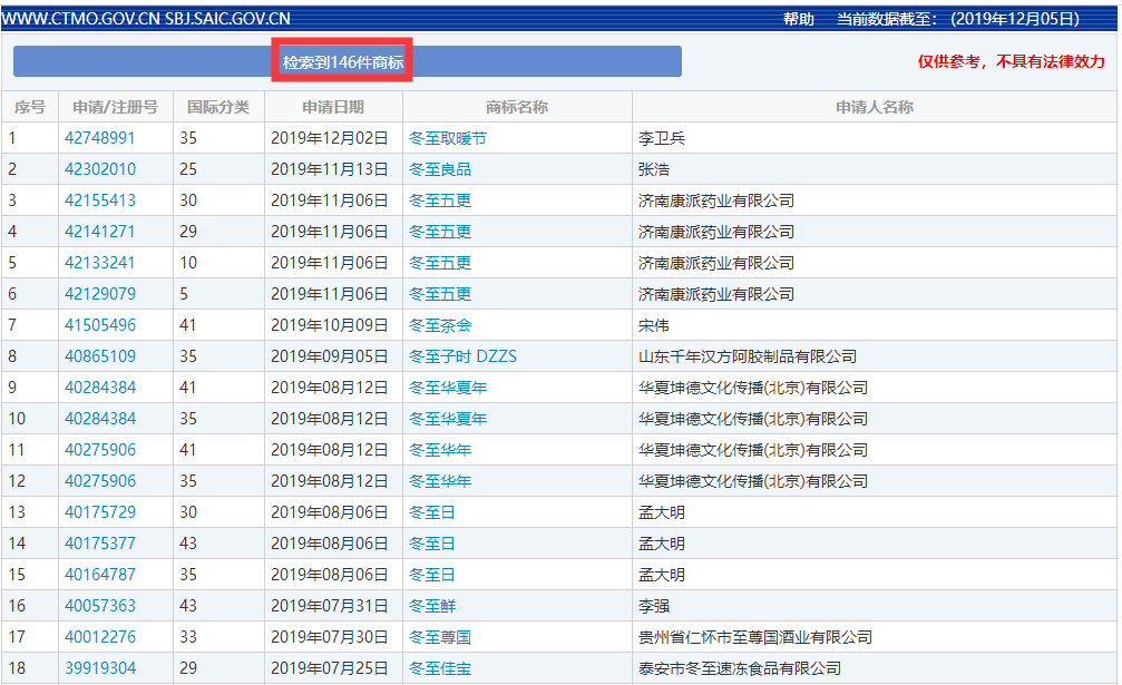
  冬至

二十四节气名称可以为注册商标吗?

  小寒

二十四节气名称可以为注册商标吗?

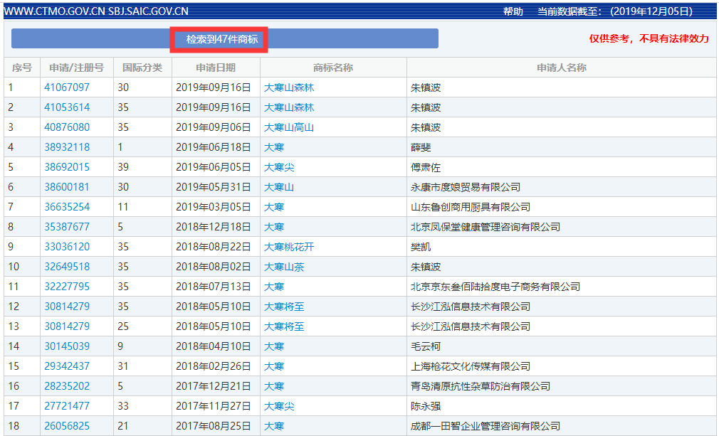
  大寒

二十四节气名称可以为注册商标吗?

  话说:

  大雪时节已到,期待满天雪花!

  来源:IPRdaily


上一篇:江苏近千家中小微企业获知识产权质押融资
下一篇:My God!天天穿鞋子,竟还不知道它是属于哪一类


亿佰倍懂商标官方微信

欢迎关注亿佰倍懂

亿佰倍懂 微信号:K58158

热门TAGS


购买上海商标 商标复审 商标撤三答辩 商标驳回复审 国际商标驳回 知名商标转让 白酒商标网 19类商标转让 18类商标转让 17类商标转让 16类商标转让 15类商标转让 14类商标转让 13类商标转让 11类商标转让 12类商标转让 10类商标转让 9类商标转让 8类商标转让 7类商标转让 6类商标转让 5类商标转让 4类商标转让 3类商标转让 2类商标转让 1类商标转让 T恤商标转让 红酒商标转让 黄酒商标转让 水饺商标转让 糖果商标转让 闲置商标转让 商标购买网站 月饼商标转让 购买月饼商标 购买牛奶商标 牛奶商标转让 购买餐饮商标 餐饮商标转让 啤酒商标转让 购买啤酒商标 购买酒类品牌 酒类品牌转让 购买饮料商标 饮料商标转让 食品商标转让 购买食品商标 购买镀膜商标 镀膜商标转让 机油商标转让 购买机油商标 头枕商标转让 购买头枕商标 车衣商标转让 购买车衣商标 购买车贴商标 车贴商标转让 凉垫商标转让 睡袋商标转让 包子商标转让

联系方式

【商标网】
企业QQ:1728988888
手机: 18211558558
官方微信:K58158
广东(总部)北京(分部)深圳(分部)